C問題
太郎さんと正子さんのクラスでは,班ごとに下のような水そうをつくり,メダカの飼育を始めました。
(1) しばらくすると,アの太郎さんの班の水そうのメダカは,たまごをうみはじめました。でも,イの正子さんの班の水そうのメダカはうみませんでした。そのちがいが出てきた理由として,次の@からCまでの中から,あなたの考えに近いものを1つ選んで,その番号を□の中に書きましょう。
  1,アはたまごをうむ場所があるが,イはたまごをうむ場所がない
  2,アはオスとメスが入っているが,イはオスとメスのいずれか一方しか入っていない
  3,アはメスだけ入っているが,イはオスだけしか入っていない
  4,アは水の温度が適しているが.イは温度が適していない
(2) イの正子さんの水そうのメダカもたまごをうむようになるためにはどうしたらよいと考えますか。次の@からEまでの中から,あなたの考えに近いものを1つ選んで,その番号を〓の中に書きましょう。
  1,水そうの水の温度を上げる
  2,水草を増やす
  3,メスばかりにする
  4,オスとメスの両方が入るようにする

 
C問題
4正子さんは,メダカのたまごの中の変化をけんび鏡を使って調べました。
(1) 正子さんは,たまごがうまれた日,2日目,8日目,14日目のようすを下のようにスケッチしました。14日目のたまごのようすをスケッチしたものは,どれでしょうか。次の@からCまでの中から1つ選んで,その番号を□の中に書きましょう。
 
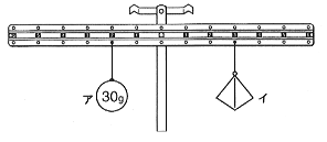
9 正子さんが,下の図のようにてこ実験器の左右におもりをつるしたら,つり合いました。
(1) イの重さは何gですか。次の□の中に書きましょう。
(1) このときの,つり合いの関係を次の式に表しましよう。
 
B問題
11 正子さんは,アのように,地面にすい直に立てたぼうのかげの位置の変化から,1日の太陽の動きを調べることにしました。
(1) イは,太陽の出るころからしずむころまで,時こくを決めて,ぼうのかげの先の位置を記録したものです。
 太陽のしずむころのぼうのかげの先は,イの@からBまでの中のどれですか,1つ選んで,その番号を□の中に書きましょう。
 
A問題
12 太郎さんたちは,月の満ち欠けを調べるために,暗い部屋でボールに光を当て,そのときのボールの見え方を観察しました。
(1) 太郎さんを地球と考えたとき,ボールとスポットライトは,それぞれ次の@からBまでのどれにあたりますか。あなたの考えに近いものを1つずつ選んで,その番号を□の中に書きましょう。
 
(2) 下のア,イの図は,左の実験のようすを上から見たものです。ア,イのとき,太郎さんから見たボールは,それぞれどのように見えますか,次の@からCまでの中から,あなたの考えに近いものを1つずつ選んで,その番号を□の中に書きましょう。
B問題
(1) 太郎さんは,図1のてこの支点,力点,作用点を,図2のように記号で表すことにしました。
(1) てこのはたらきを使ったア,イ,ウの道具は,図2のような記号で表すと,どのようになりますか。下の@からCまでの中から1つ選んで,その番号を□の中に書きましょう。
 
B問題
1 太郎さんと正子さんは,自分のまわりの空気とはき出した空気には違いがあると考え,気体検知管を使って呼吸のしくみを調べました。
(1) 太郎さんは,息をふいてふくらませたビニルぶくろの中の空気にふくまれる二酸化炭素を調べました。何%の二酸化炭素が含まれていたのでしょうか。下の@からCまでの中から,あなたの考えに近いものを1つ選んで,その番号を□の中に書きましょう。


(1) 正子さんは気体検知管で「まわりの空気」と「はき出した空気」の中にふくまれる酸素と二酸化炭素の量の割合を調べ,下のようなグラフをかきました。
このグラフから考えられる「呼吸のしくみ」を,下の@からEまでの中から,あなたの考えに近いものを1つ選んで,その番号を□の中に書きましょう。
1, 酸素を取り入れ,二酸化炭素を出す
2, 二酸化炭素を取り入れ,酸素を出す
3, 酸素を取り入れる
4, 酸素を出す 
5, 二酸化炭素を取り入れる 
6, 二酸化炭素を出す 
 
(3) 太郎さんと正子さんは,下の図のような呼吸に使われる器官を図鑑から見つけました。この器官の名前を□の中に書きましょう。
(4) (3)の器管の内部は枝分かれした管とその先にある小さなふくろでできており,そのまわりに血管に血管がたくさん通っていることが分かりました。そこで,太郎さんはこの血管に流れる血液の中に含まれる酸素と二酸化炭素の量を,(2)のグラフから予想し,下の図のアとイの血液の中に含まれる酸素と二酸化炭素の量を比べました。あなたの考えに近いものを次の@からDまでの中から1つ選んで,その番号を□の中に書きましょう。
1, イと比べると,アは酸素が多く,二酸化炭素は少ない。
2, イと比べると,アは酸素が少なく,二酸化炭素は多い。
3, イと比べると,アは酸素も二酸化炭素も多い。
4, イと比べると,アは酸素も二酸化炭素も少ない。
5, アとイを比べると,酸素も二酸化炭素も変わらない

C問題

(1) 実験1のアは,酸素の中に石灰水を入れてふったときの結果です。その結果を,次の@から までの中から1つ選んで,その番号を□の中に書きましょう。
  @ 黒くにごる
A 青むらさき色に変わる
B 白くにごる
C 変化しない